
The quick exit push pad is designed to facilitate rapid exit through gates, a security shroud is also available to prevent access to the push pad from outside.
Stainless steel latchbolt which springs 22mm into the gate post. Supplied with bolt guide plate and gate post strike plate. Latchbolt is adjustable in length for precise fitting on site. Quick exit/key access or quick exit digital lock combinations available.
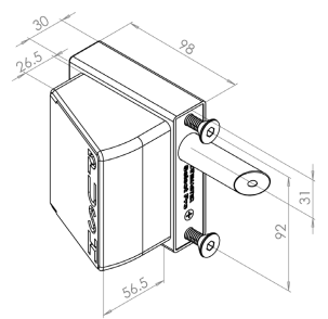
1. Drill 2 x 9mm dia. holes at 92mm centres for M8 fixing bolts.
2. Drill 18mm clearance hole for latchbolt at 22mm centres down from the top 9mm hole.
3. Fix lock in place using stainless steel clamp plate, bolt support plate and 2 stainless steel countersunk fixing bolts supplied.
4. Drill clearance hole in keep or outer frame to receive the latchbolt. Slot this hole vertically to allow for gate sag.
5. Ensure latchbolt moves freely without binding on gate or frame.
Product Options
Two locks types available:
Key access on one side, push pad on the other
- SBQEKLL01 Left Hand for 10 – 30mm gate frames
- SBQEKLR01 Right Hand for 10 – 30mm gate frames
- SBQEKLL02 Left Hand for 40 – 60mm gate frames
- SBQEKLR02 Right Hand for 40 – 60mm gate frames
Digital keypad access on one side, push pad on the other
- SBQEDGLL01 Left Hand for 10 – 30mm gate frames
- SBQEDGLR01 Right Hand for 10 – 30mm gate frames
- SBQEDGLL02 Left Hand for 40 – 60mm gate frames
- SBQEDGLR02 Right Hand for 40 – 60mm gate frames














